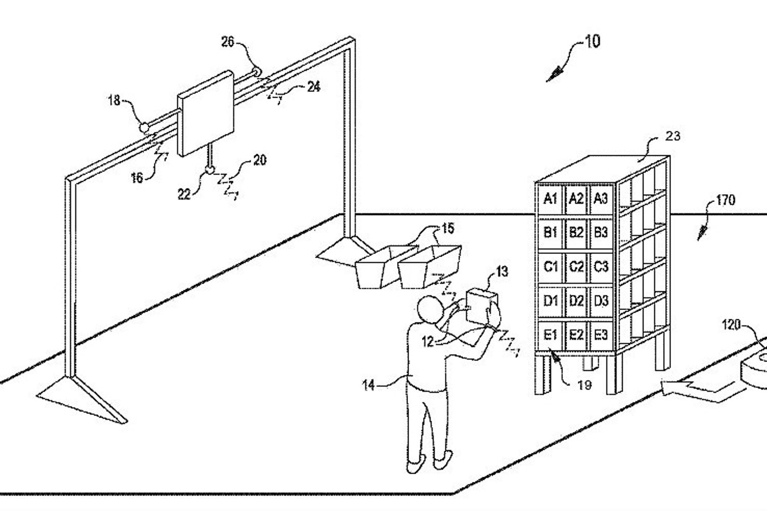
Un braccialetto controllerà i movimenti dei magazzinieri di Amazon
Un braccialetto controllerà i movimenti dei magazzinieri di Amazon

Un braccialetto controllerà i movimenti dei magazzinieri di Amazon

 Il progetto brevettato da Amazon e reso noto da GeekWire 
 GeekWire -  Il progetto brevettato da Amazon e reso noto da GeekWire 
di lettura
ADV
ADV
ADV